
چگونه باید با خودنویس بنویسیم؟
اکتبر 29, 2024
چه نوع جوهری برای خودنویس خود بخریم؟
اکتبر 29, 2024به دو روش می توان جوهر را به خودنویس رساند
-1 استفاده از کارتریج جوهر: این روش بسیار ساده و متداول است بدین ترتیب که با خریداری کارتریج جوهر که در بازار با اصطلاحاتی مثل کپسول جوهر و یا فشنگی عرضه می شود و نصب آن روی سر قلم خودنویس به روش زیر جوهر خودنویس تامین می گردد. در صورت اتمام جوهر به سادگی می توان کارتریج جوهر جدیدی را جایگزین کارتریج قبلی نمود.

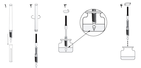
-2 استفاده از پمپ جوهر: این روش بیشتر بین اهالی قلم متداول است و می توان با خریداری شیشه جوهر و استفاده از پمپ جوهر که داخل اغلب خودنویس های با کیفیت به عنوان پیش فرض قرار دارد اقدام به پر کردن مخزن جوهر نمود. در این روش ابتدا باید پمپ روی سر قلم نصب و خالی از هوا باشد و سپس خودنویس را تا حدی که هوا داخل مخزن پمپ جوهر نشود داخل شیشه جوهر فرو ببریم. سپس پمپ را چرخانده تا حدی که جوهر داخل مخزن پر شود. با انجام چند باره این کار مطمئن خواهید شد که هوایی داخل مخزن پمپ نمانده است و کاملاً پر از جوهر شده.

نکته مهم اینکه در هر دو روش باید دقت کرد که پمپ جوهر و یا کپسول جوهر ترجیحاً از همان برند قلم باشد چرا که سایز مخرج کارتریج پمپ جوهر باید با مدخل جوهر در سر قلم خودنویس تطابق داشته باشد اگر مخرج بزرگتر باشد جوهر پس می دهد و اگر کوچکتر باشد باعث آسیب زدن به مدخل جوهر در سر قلم خودنویس می شود .
